原標題:052D艦換新垂發戰力超群 或可比肩美軍DDG1000
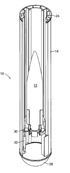
簡單說來,這種垂發裝置就是利用發射筒與井壁間的縫隙,將火箭熱氣從上方排出。所以在“井蓋”關閉的情況下,是看不到發射井內的排氣口的。
【1】【2】【3】【4】【5】【6】【7】【8】【9】【10】【11】【12】【13】【14】【15】【16】【17】【18】【19】【20】【21】【22】【23】【24】【25】【26】【27】【28】【29】【30】【31】【32】【33】【34】
| 上一頁 | 下一頁 |
延伸閱讀:
(責編:康哲(實習生)、曾偉)

分享到人人
分享到QQ空間










恭喜你,發表成功!

!





















